Chứng nhận Đường ray thẳng đứng và dây cứu sinh thẳng đứng kết hợp với bộ hãm rơi ngã kiểu trượt theo tiêu chuẩn TCVN 7802-4: 2008 (ISO 10333-4:2002)
Ngày 20/08/2024 - 03:08Lời nói đầu
TCVN 7802 - 4 : 2008 hoàn toàn tương đương với ISO 10333 - 4 : 2002;
TCVN 7802 - 4 : 2008 do Ban kỹ thuật Tiêu chuẩn quốc gia TCVN/TC 94 Phương tiện bảo hộ cá nhân biên soạn, Tổng cục Tiêu chuẩn Đo lường Chất lượng đề nghị, Bộ Khoa học và Công nghệ công bố.
Bộ TCVN 7802 Hệ thống chống rơi ngã cá nhân gồm các phần sau:
- TCVN 7802-1 : 2007 (ISO 10333-1: 2000, Amd.1: 2002), Phần 1: Dây đỡ cả người.
- TCVN 7802-2 : 2007 (ISO 10333-2: 2000), Phần 2: Dây treo và thiết bị hấp thụ năng lượng.
- TCVN 7802-3 : 2007 (ISO 10333-3: 2000), Phần 3: Dây cứu sinh tự co
- TCVN 7802-4 : 2008 (ISO 10333-4: 2002, Phần 4: Đường ray thẳng đứng và dây cứu sinh thẳng đứng kết hợp với bộ hãm rơi ngã kiểu trượt.
- TCVN 7802-5 : 2008 (ISO 10333-5: 2001), Phần 5: Các bộ phận nối có cổng tự khóa và tự đóng.
- TCVN 7802-6 : 2008 (ISO 10333-6: 2004), Phần 6: Các phép thử tính năng của hệ thống.
Lời giới thiệu
ở những nơi có nguy cơ ngã từ trên cao xuống, và ở những nơi vì lý do kỹ thuật hoặc do công việc phải hoàn thành trong khoảng thời gian rất ngắn, việc tiếp cận an toàn không thể được đảm bảo, khi đó cần xem xét tới việc sử dụng hệ thống chống rơi ngã cá nhân (HTCRN). HTCRN sẽ không sử dụng được khi chưa chuẩn bị trước, nó phải cung cấp chính thức vì mục đích đảm bảo an toàn tại nơi làm việc.
HTCRN tuân theo tiêu chuẩn này phải thỏa mãn những quy định về ecgônômi và chỉ được sử dụng nếu tại vị trí làm việc cho phép nối với một dụng cụ neo phù hợp có độ bền đã được chứng minh và không có những thay đổi về an toàn đối với người sử dụng. Người sử dụng phải được huấn luyện và hướng dẫn cách sử dụng thiết bị an toàn và phải tuân thủ việc huấn luyện và hướng dẫn này.
Tiêu chuẩn này dựa trên thực tế và kiến thức đã có, liên quan đến vấn đề sử dụng HTCRN có dây đỡ cả người.
Tiêu chuẩn này coi như nhà sản xuất HTCRN, hệ thống phụ hoặc các chi tiết, với mục đích đã định trước và để truy nguyên, sẽ thực hiện hệ thống quản lý chất lượng phù hợp với các quy định hiện hành của quốc gia và của khu vực. Hướng dẫn về hệ thống quản lý chất lượng có thể tham khảo trong TCVN ISO 9000, Hệ thống quản lý chất lượng - Nguyên tắc cơ bản và từ vựng.
HỆ THỐNG CHỐNG RƠI NGÃ CÁ NHÂN - PHẦN 4 : ĐƯỜNG RAY THẲNG ĐỨNG VÀ DÂY CỨU SINH THẲNG ĐỨNG KẾT HỢP VỚI BỘ HÃM RƠI NGÃ KIỂU TRƯỢT
Phạm vi áp dụng
Tiêu chuẩn này quy định các yêu cầu, phương pháp thử, hướng dẫn cách sử dụng và bảo quản, ghi nhãn, dán nhãn và bao gói đối với đường ray thẳng đứng và dây cứu sinh thẳng đứng kết hợp với bộ hãm rơi ngã kiểu trượt.
Khi đường ray thẳng đứng và dây cứu sinh thẳng đứng kết hợp với bộ hãm rơi ngã kiểu trượt được nối với dây đỡ cả người như quy định trong TCVN 7802-1 (ISO 10333-1) sẽ tạo thành một hệ thống chống rơi ngã cá nhân (HTCRN), hệ thống này sẽ được quy định trong một phần tiếp theo của bộ tiêu chuẩn này.
Đường ray thẳng đứng và dây cứu sinh thẳng đứng kết hợp với bộ hãm rơi ngã kiểu trượt phù hợp với tiêu chuẩn này được giới hạn để sử dụng cho một người có khối lượng tổng không vượt quá 100 kg.
Chú thích 1 Khi khối lượng tổng của người sử dụng HTCRN (bao gồm các dụng cụ và thiết bị kèm theo) vượt quá 100 kg thì nên hỏi ý kiến nhà sản xuất về sự phù hợp của thiết bị, khi đó cần phải thử thêm.
Chú thích 2 HTCRN sử dụng đường ray thẳng đứng và dây cứu sinh thẳng đứng cố định vốn đã hạn chế sự di chuyển theo phương nằm ngang của người sử dụng, trong khi đó HTCRN có sử dụng một dây cứu sinh thẳng đứng tạm thời cho phép người sử dụng di chuyển một cách đáng kể theo phương nằm ngang. Cần phải đưa ra ưu ý đặc biệt đối với các yêu cầu để phù hợp với sự khác biệt này.
Phạm vi áp dụng của tiêu chuẩn này không đề cập đến:
a) các đường ray và dây cứu sinh nghiêng, nghĩa là chúng được lắp đặt sao cho góc tạo thành giữa trục thẳng đứng và dây cứu sinh hoặc đường ray lớn hơn 150 khi nhìn từ hình chiếu cạnh;
b) các bộ phận được lắp nằm ngang của các đường ray hoặc dây cứu sinh hỗn hợp, nghĩa là các đường ray hoặc dây có cả bộ phận được lắp nằm ngang và thẳng đứng được liên kết với nhau bằng các mối nối.
Tiêu chuẩn này không quy định những yêu cầu bổ sung phải áp dụng khi HTCRN được sử dụng ở điều kiện làm việc đặc biệt (ví dụ, ở nơi tồn tại những hạn chế khác thường có liên quan đến việc đi vào nơi làm việc và/hoặc những yếu tố môi trường đặc biệt). Bởi vậy, việc xử lý để bảo đảm độ bền của cấu trúc vật liệu (như xử lý nhiệt, xử lý chống ăn mòn, bảo vệ chống lại những nguy cơ về vật lý và hoá học) không được quy định trong tiêu chuẩn này, nhưng vẫn phải tuân theo những tiêu chuẩn quốc tế phù hợp, hoặc nếu không có thì tuân theo tiêu chuẩn quốc gia hoặc những quy định kỹ thuật khác có liên quan đến đặc tính lý học và/hoặc tính an toàn cho người sử dụng.
Tài liệu viện dẫn
Các tài liệu viện dẫn sau rất cần thiết cho việc áp dụng tiêu chuẩn. Đối với các tài liệu viện dẫn ghi năm công bố thì áp dụng bản được nêu. Đối với các tài liệu viện dẫn không ghi năm công bố thì áp dụng phiên bản mới nhất, bao gồm cả các sửa đổi.
TCVN 7802-1 : 2007 (ISO 10333-1 : 2000), Hệ thống chống rơi ngã cá nhân - Phần 1: Dây đỡ cả người.
TCVN 7802-5 : 2008 (ISO 10333-5 : 2001), Hệ thống chống rơi ngã cá nhân - Phần 5: Các bộ phận nối có cổng tự đóng và tự khóa.
ISO 1140 : 1990, Ropes t Polyamide t Specification (Cáp - Polyamit - Yêu cầu kỹ thuật). ISO 1141 : 1990, Ropes t Polyester t Specification (Cáp - Polyeste - Yêu cầu kỹ thuật).
ISO 9227 : 1990, Corrosion tests in artificial atmospheres - Salt spray tests (Thử ăn mòn trong môi trường nhân tạo - Thử phun bụi muối).
ISO 14567, Personal protective equipment for protection against falls from a height t Single-point anchor devices (Phương tiện bảo vệ cá nhân chống rơi ngã từ trên cao - Dụng cụ neo một điểm).
EN 892 : 1996, Mountaineering equipment t Dynamic mountaineering ropes t Safety requirements and test methods (Thiết bị leo núi - Dây leo núi động lực - Yêu cầu an toàn và phương pháp thử).
EN 1891 : 1998, Personal protective equipment for prevention of fall from a height - Low stretch kernmantel ropes (Phương tiện bảo vệ cá nhân chống rơi ngã từ trên cao - Dây kernmantel co giãn ít).
Thuật ngữ và định nghĩa
Trong tiêu chuẩn này áp dụng những thuật ngữ và định nghĩa sau:
Đường ray thẳng đứng (vertical rail)
Đường ray cứng được gắn chặt với một thang hoặc kết cấu khác cố định bằng các ngàm kẹp cách quãng dọc theo chiều dài của ray, và có thể gắn vào đó một bộ hãm rơi ngã kiểu trượt.
Xem Hình 1.
Chú thích Đường ray có thể gồm một số đoạn được giữ với nhau bằng các tấm nối.
Các loại dây cứu sinh thẳng đứng (vertical lifelines)
Dây cứu sinh thẳng đứng (vertical lifeline)
Dây có thể co dãn, được lắp đặt cố định hoặc tạm thời.
Dây cứu sinh thẳng đứng cố định (permanent vertical lifeline)
Dây đã kéo căng có ít nhất một đầu ở phía trên được gắn chặt cố định, có vai trò như một điểm neo chắc chắn.
Xem Hình 2.
Chú thích 1 Điểm dưới cùng của dây được gắn chặt vào một thang hoặc một kết cấu khác cố định, trên dây có thể gắn một bộ hãm rơi ngã kiểu trượt.
Chú thích 2 Dây cứu sinh thẳng đứng cố định có thể được gắn thêm vào thang hoặc kết cấu khác cố định tại một số vị trí cách quãng dọc theo chiều dài của dây.
Dây cứu sinh thẳng đứng tạm thời (temporary vertical lifeline)
Dây treo có điểm trên cùng được gắn tạm thời với một điểm neo phía trên cùng, trên dây có thể gắn một bộ hãm rơi ngã kiểu trượt.
Xem Hình 3.
Chú thích Có thể gắn một tải trọng nhỏ vào điểm dưới cùng của dây cứu sinh thẳng đứng tạm thời để tạo ra được một lực căng danh nghĩa ở trên dây.
.png)
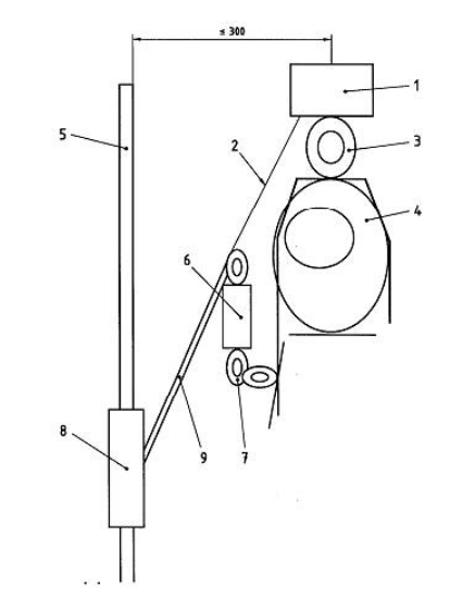
CHÚ GIẢI
1 | Thanh ngang | 5 | Thang được lắp cố định |
2 | Đường ray | 6 | Chỗ nối giữa các đoạn đường ray |
3 | Chốt trung gian so với thanh ngang | 7 | Bộ hãm rơi ngã kiểu trượt |
4 | Dây nối |
|
|
Hình 1 - Ví dụ về đường ray thẳng đứng
.png)
CHÚ GIẢI
1 | Bộ hãm rơi ngã kiểu trượt | 6 | Dây cứu sinh |
2 | Thang được lắp cố định | 7 | Dây nối |
3 | Điểm gắn phía trên | 8 | Dụng cụ kéo căng |
4 | Thiết bị hấp thụ năng lượng của dây cứu sinh thẳng đứng | 9 | Điểm gắn phía dưới |
5 | Chốt trung gian so với thanh ngang |
|
|
Hình 2 - Ví dụ về dây cứu sinh thẳng đứng cố định
.png)
CHÚ GIẢI
1. Điểm neo phía trên
2. Dây cứu sinh
3. Bộ hãm rơi ngã kiểu trượt
4. Dây nối
5. Quả nặng để kéo căng
Hình 3 - Ví dụ về dây cứu sinh thẳng đứng tạm thời
Bộ hãm rơi ngã kiểu trượt (sliding-type fall arrester)
Cơ cấu được gắn vào đường ray thẳng đứng hoặc dây cứu sinh thẳng đứng, có thể trượt lên hoặc xuống tương ứng với chuyển động trèo và tự động khóa vào đường ray thẳng đứng hoặc dây cứu sinh thẳng đứng khi có chuyển động rơi đột ngột.
Định nghĩa về dây nối (connecting-line definitions)
Dây nối (connecting line)
Dây được nối với bộ hãm rơi ngã kiểu trượt, dùng để liên kết giữa bộ hãm rơi ngã kiểu trượt với một điểm liên kết chống rơi ngã trên dây đỡ cả người.
CHÚ THÍCH Dây nối có thể là một dây treo, thiết bị hấp thụ năng lượng, bộ phận nối, hoặc sự kết hợp của dây treo, thiết bị hấp thụ năng lượng và bộ phận nối.
Chiều dài dây nối (connecting-line length)
Khoảng cách ngắn nhất đo được giữa điểm mang tải của đầu xa nhất tới đầu kia của dây nối, khi dây nối được giữ căng.
Dây treo (lanyard)
Được làm bằng vật liệu mềm dẻo, có thể được sử dụng làm một phần hoặc toàn bộ dây nối.
Thiết bị hấp thụ năng lượng trên dây nối (connecting-line energy absorber)
Bộ phận có thể được sử dụng như một phần hoặc toàn bộ của dây nối, được dùng để tiêu tán động năng sinh ra trong khi rơi, và hạn chế xung lực tác dụng lên đường ray thẳng đứng hoặc dây cứu sinh thẳng đứng và người rơi.
Bộ phận nối (connector)
Bộ phận có thể được sử dụng như một phần hoặc toàn bộ của dây nối, và được dùng để liên kết dây nối với điểm liên kết chống rơi ngã trên dây đỡ cả người.
Bộ phận nối để neo giữ (anchor connector)
Bộ phận được sử dụng để nối trực tiếp dây cứu sinh thẳng đứng tạm thời với điểm neo giữ phía trên.
Thiết bị hấp thụ năng lượng trên dây cứu sinh thẳng đứng (vertical-lifeline energy absorber)
Bộ phận có thể có hoặc không, được gắn ở điểm chốt phía trên của dây cứu sinh thẳng đứng cố định, hoặc gắn ở điểm neo phía trên của dây cứu sinh thẳng đứng tạm thời, được dùng để tiêu tán động năng sinh ra trong khi rơi và hạn chế xung lực tác dụng lên dây cứu sinh, điểm chốt/neo phía trên và người rơi.
Điểm mở (opening point)
Điểm được thiết kế đặc biệt trên đường ray thẳng đứng hoặc dây cứu sinh thẳng đứng cố định mà tại đó có thể lắp hoặc tháo bộ hãm rơi ngã kiểu trượt, điểm này không phải là điểm xa nhất.
Cơ cấu mở (opening device)
Cơ cấu trên bộ hãm rơi ngã kiểu trượt, cho phép lắp và tháo bộ hãm ở bất kỳ điểm trung gian nào trên đường ray thẳng đứng hoặc dây cứu sinh thẳng đứng.
Sự treo giữ sau khi ngừng rơi (post-fall arrest suspension)
Trạng thái mà sau khi đã dừng hoàn toàn bằng một phương tiện chống rơi ngã, người rơi được treo lơ lửng trên dây đỡ cả người.
Khối lượng tổng (total mass)
Tổng khối lượng của người sử dụng cùng toàn bộ quần áo và thiết bị mang theo.
Quả nặng thử khóa tối thiểu (minimum locking-test mass)
Quả nặng có khối lượng nhỏ nhất tính tròn đến kilôgam, khi gắn vào đầu tự do đã nhấc lên của dây nối và sau đó thả, sẽ làm cho bộ hãm rơi ngã khóa lại và giữ nguyên trạng thái này trên đường ray thẳng đứng hoặc dây cứu sinh thẳng đứng.
Định nghĩa chung
Bộ phận (component)
Phần cấu thành của một HTCRN hoặc hệ thống phụ được hoàn thiện trong quá trình sản xuất của nhà chế tạo và có thể mua được.
Hệ thống phụ (subsystem)
Phần cấu thành của một HTCRN có thể bao gồm một hoặc nhiều bộ phận, và được dùng để kết nối người sử dụng với dụng cụ neo qua chi tiết liên kết chống rơi ngã của dây đỡ cả người.
CHÚ THÍCH Một hệ thống phụ thực hiện hai chức năng chủ yếu
a) kết nối;
b) hãm rơi và hấp thụ năng lượng.
Hệ thống chống rơi ngã cá nhân (personal fall-arrest system) HTCRN
Tổ hợp các bộ phận và hệ thống phụ, bao gồm dây đỡ cả người, khi kết nối với nhau theo trình tự nhất định và được nối với một dụng cụ neo phù hợp sẽ có tác dụng chống rơi ngã từ trên cao.
CHÚ THÍCH HTCRN làm giảm thiểu xung lực khi rơi, kiểm soát toàn bộ khoảng cách rơi để ngăn ngừa sự va chạm xuống nền đất hoặc vật cản khác, và giữ người sử dụng ở tư thế treo lơ lửng sau khi rơi để được giải cứu.
Yêu cầu
Quy định chung
Việc thiết kế các chi tiết làm việc, vị trí của chúng và việc bảo vệ các phần này phải ngăn ngừa được việc tính năng sử dụng của chúng bị hư hại do vô tình.
Các chi tiết làm việc phải được làm nhẵn và không có các khuyết tật về vật liệu và lỗi do sản xuất; phải không có các cạnh sắc hoặc gồ ghề mà có thể cắt, làm xây xước hoặc các lỗi khác làm hư hại vật liệu hoặc gây thương tích cho người sử dụng.
Điểm neo của dây cứu sinh thẳng đứng tạm thời phải tuân theo ISO 14567.
Yêu cầu đối với đường ray thẳng đứng
Thiết kế đường ray
Một đường ray thẳng đứng phải được thiết kế sao cho:
a) có khả năng gắn vào một thang hoặc kết cấu khác bằng các ngàm kẹp cách quãng theo hướng dẫn lắp đặt của nhà sản xuất;
b) cho phép lắp và tháo bộ hãm rơi ngã kiểu trượt ít nhất tại hai đầu mút của chiều dài đường ray, trừ khi bộ hãm rơi ngã kiểu trượt được thiết kế đồng bộ với đường ray;
c) cho phép bộ hãm rơi ngã kiểu trượt chuyển động lên và xuống mà không bị cản trở, đặc biệt tại các điểm nối và tại các điểm gắn trung gian;
d) ngăn được bộ hãm rơi ngã kiểu trượt tách ra khỏi đường ray ngoài ý muốn.
Các điểm lắp và tháo bộ hãm rơi ngã kiểu trượt
Khi các đầu mút của khẩu độ đường ray được sử dụng để lắp và tháo bộ hãm rơi ngã kiểu trượt, các đầu mút này phải được lắp một chốt ở đầu để ngăn bộ hãm rơi ngã kiểu trượt chạy ra khỏi đường ray ngoài ý muốn.
Khi các điểm mở nằm ở giữa các đầu mót của khẩu độ đường ray, chúng phải được thiết kế sao cho chỉ có thể mở được khi có ít nhất hai thao tác bằng tay liên tiếp có chủ ý. Khi đóng, điểm này phải được thiết kế để khóa tự động bởi việc khớp vào của cơ cấu khóa, và sao cho, khi sử dụng bình thường, bộ hãm rơi ngã kiểu trượt không thể tách khỏi đường ray ngoài ý muốn.
Yêu cầu đối với dây cứu sinh thẳng đứng cố định
Thiết kế
Một dây cứu sinh thẳng đứng cố định phải được thiết kế sao cho:
a) có khả năng gắn vào thang hoặc kết cấu khác tại hai đầu mút và ngoài ra, nếu yêu cầu, bằng các ngàm kẹp cách quãng theo hướng dẫn lắp đặt của nhà sản xuất;
b) khi được lắp đặt, có khả năng kéo căng được theo hướng dẫn lắp đặt của nhà sản xuất;
c) cho phép lắp và tháo bộ hãm rơi ngã kiểu trượt tại các điểm dọc theo dây cứu sinh trừ khi bộ hãm rơi ngã kiểu trượt được thiết kế đồng bộ;
d) cho phép bộ hãm rơi ngã kiểu trượt chuyển động lên và xuống mà không bị cản trở, đặc biệt tại các điểm gắn trung gian;
e) ngăn được bộ hãm rơi ngã tách ra khỏi dây cứu sinh ngoài ý muốn.
Các điểm lắp và tháo bộ hãm rơi ngã kiểu trượt
Khi các điểm mở nằm ở giữa các đầu mút của dây cứu sinh, chúng phải được thiết kế sao cho chỉ có thể mở khi có tối thiểu hai thao tác bằng tay liên tiếp có chủ ý. Khi đóng, điểm này phải được thiết kế để khóa tự động bởi việc khớp vào của cơ cấu khoá sao cho, khi sử dụng bình thường, bộ hãm rơi ngã kiểu trượt không thể tách ra khỏi dây cứu sinh ngoài ý muốn.
Yêu cầu đối với dây cứu sinh thẳng đứng tạm thời
Một dây cứu sinh thẳng đứng tạm thời phải được thiết kế sao cho:
a) có khả năng gắn được với một điểm neo phía trên theo các hướng dẫn lắp đặt của nhà sản xuất;
b) cho phép lắp và tháo bộ hãm rơi ngã kiểu trượt ít nhất tại đầu mút phía dưới của dây cứu sinh, trừ khi bộ hãm rơi ngã kiểu trượt được thiết kế đồng bộ;
c) cho phép bộ hãm rơi ngã kiểu trượt chuyển động lên và xuống mà không bị cản trở;
d) ngăn được bộ hãm rơi ngã tách ra khỏi dây cứu sinh ngoài ý muốn;
e) có khả năng lắp với một quả nặng kéo căng hoặc biện pháp ổn định khác tại đầu mút phía dưới.
Vật liệu và cấu trúc của dây cứu sinh thẳng đứng
Dây cáp sợi và vải làm đai
Dây cáp sợi, vải làm đai và chỉ khâu của dây cứu sinh phải được làm từ tơ filamăng nguyên chất hoặc tơ đa filamăng (multi-filament) tổng hợp hoặc những tơ phù hợp với mục đích sử dụng. Độ bền kéo đứt của tơ tổng hợp phải ít nhất là 0,6 N/tex.
Số lượng tao dây của một dây cứu sinh phải ít nhất là ba. Dây cứu sinh polyamit ba tao phải tuân theo ISO 1140, dây cứu sinh polyeste ba tao phải tuân theo ISO 1141.
Dây cứu sinh được chế tạo từ dây cáp bện phải tuân theo EN 892 (dây đơn) hoặc EN 1891, loại A. Vật liệu tương đương có thể chấp nhận được.
Ở nơi quy định cho dây cứu sinh, hoặc khi dây cứu sinh được xác định sẽ sử dụng cho công việc thực hiện gần xưởng hàn hoặc xưởng cắt bằng khí ôxy, hoặc nguồn nhiệt, chúng phải được bảo vệ bằng những biện pháp chống nhiệt phù hợp.
Dây cáp thép
Đường kính tối thiểu của vật liệu làm dây cáp thép được sử dụng trong cấu trúc của dây cứu sinh phải là 8 mm.
Phần cuối
4.5.3.1 Nút nối dây ở dây cáp sợi được bố trí gồm bốn nếp gấp dùng tất cả sợi ở tao dây và hai nếp gấp được vuốt thon. Chiều dài của đoạn cuối thò ra sau nếp gấp cuối ít nhất phải bằng đường kính một dây cáp. Đoạn cuối phải được quấn với dây cáp và được bảo vệ bằng một ống lót bằng cao su hoặc bằng nhựa, hoặc được hoàn thiện toàn bộ theo cách khác để tránh cho phần cuối hoặc mối nối khỏi bị tuột ra. Hợp chất để nối phải thích hợp với vật liệu dây cáp. Các mắt nối phải được bọc xung quanh bằng một ống bọc bằng nhựa hoặc bằng kim loại có kích thước và độ bền phù hợp với khuyến cáo của nhà sản xuất cáp.
Phần cuối mũi khâu trên dây cứu sinh bằng vải làm đai phải được khâu chặn lại. Chỉ khâu phải phù hợp với vật liệu vải làm đai và phải có mầu tương phản để dễ dàng kiểm tra. Cách gia cố hoặc biện pháp khác được sử dụng để bảo vệ phần cuối khỏi bị mài mòn cục bộ ở tất cả các phần tiếp xúc giữa vải - kim loại. Các đầu bằng vải phải được đốt hoặc có cách bảo vệ khác để tránh bị xổ ra.
Các mắt nối cuối của dây cứu sinh làm bằng cáp thép phải được sản xuất theo một trong hai cách sau:
a) hoặc một mắt nối với ống bọc bằng một mối nối dập nén;
b) hoặc một mắt quay ngược lại với ống bọc bằng tối thiểu hai mối nối dập nén.
Lựa chọn cách lắp đặt khuôn dập, kích cỡ, loại vật liệu, kích cỡ/áp lực khuôn dập nén, vị trí của (các) khuôn dập trên dây cáp, và kích cỡ ống bọc, phải thực hiện theo khuyến cáo của nhà sản xuất dây cáp. Đặc biệt, khuôn dập bằng nhôm nên sử dụng cho dây cáp thép và khuôn dập bằng đồng sử dụng cho dây cáp bằng thép không gỉ.
Các đầu của dây cáp bằng thép phải hàn bằng đồng thau, cuộn hoặc có cách hoàn thiện tương tự để tránh bị tuột ra. Hàn bằng đồng thau phải thực hiện trước khi tạo thành mắt xích.
Không được sử dụng các nút để làm các phần cuối dây cứu sinh, trừ khi các phần cuối này là cố định, được hàn và chế tạo bởi nhà sản xuất. Độ bền kéo tối thiểu của đầu cuối phải tuân theo 4.14.1.
Thiết bị hấp thụ năng lượng trên dây cứu sinh thẳng đứng
Vật liệu và cơ cấu của thiết bị hấp thụ năng lượng trên dây cứu sinh thẳng đứng phải được bảo vệ bằng một vỏ bảo vệ để tránh ảnh hưởng của các chất ô nhiễm từ bên ngoài, vật sắc nhọn và khí hậu bất lợi.
Ở nơi quy định cho thiết bị hấp thụ năng lượng, hoặc khi thiết bị hấp thụ năng lượng được sử dụng cho công việc thực hiện gần xưởng hàn hoặc xưởng cắt bằng khí ôxy, hoặc nguồn nhiệt, chúng phải được bảo vệ bằng những biện pháp chống nhiệt phù hợp.
Các yêu cầu đối với bộ hãm rơi ngã kiểu trượt
Thiết kế
Bộ hãm rơi ngã kiểu trượt phải có một khóa tự động, có khả năng ngăn bộ hãm tụt tiếp xuống đường ray thẳng đứng hoặc dây cứu sinh thẳng đứng trong khi rơi bằng việc khớp vào của cơ cấu phanh. Chức năng khóa tự động này không phải là duy nhất để chống quán tính.
Bộ hãm rơi ngã kiểu trượt phải có khả năng khóa vào dây cứu sinh thẳng đứng cho dù dây cứu sinh căng hay chùng.
Nếu bộ hãm rơi ngã kiểu trượt có một khóa bằng tay, thiết kế phải đảm bảo khóa này chỉ là thứ yếu so với khóa tự động.
Nếu bộ hãm rơi ngã kiểu trượt được lắp với một cơ cấu mở, bộ hãm phải được thiết kế sao cho nó chỉ có thể tháo được ra khỏi đường ray thẳng đứng hoặc dây cứu sinh thẳng đứng bằng ít nhất hai thao tác bằng tay liên tiếp có chủ ý. Khi khớp vào đường ray thẳng đứng hoặc dây cứu sinh thẳng đứng, cơ cấu mở này phải được thiết kế để khoá tự động do hoạt động của một cơ cấu khoá sao cho, khi sử dụng bình thường, bộ hãm rơi ngã kiểu trượt không thể tách ra khỏi đường ray thẳng đứng hoặc dây cứu sinh thẳng đứng ngoài ý muốn.
Nếu do sai sót, bộ hãm rơi ngã kiểu trượt có thể lắp ngược vào đường ray thẳng đứng hoặc dây cứu sinh thẳng đứng tại hai đầu mút hoặc ở bất kỳ điểm nào khác trên đường ray thẳng đứng hoặc dây cứu sinh thẳng đứng làm cho chức năng giữ tự động bị hư hại hoặc bị hỏng thì bộ hãm rơi ngã kiểu trượt hoặc đường ray thẳng đứng hoặc dây cứu sinh thẳng đứng phải được thiết kế sao cho có thể ngăn được khả năng này, hoặc bộ hãm phải được ghi nhãn rõ ràng để cảnh báo cho người sử dụng về nguy cơ này.
Các yêu cầu đối với dây nối
Chiều dài dây nối
Chiều dài dây nối cho hệ thống đường ray thẳng đứng và dây cứu sinh thẳng đứng cố định phải không được vượt quá 23 cm. Chiều dài dây nối cho hệ thống dây cứu sinh thẳng đứng tạm thời phải không được vượt quá 1,0 m.
Vật liệu và cấu trúc
Dây cáp thép, vải làm đai và chỉ khâu của dây nối phải tuân theo 4.5.1. Các phần cuối phải tuân theo 4.5.3.
Thiết bị hấp thụ năng lượng trên dây nối
Vật liệu và cơ cấu của thiết bị hấp thụ năng lượng trên dây nối phải được bảo vệ bằng một vỏ bảo vệ để tránh ảnh hưởng của các chất ô nhiễm bên ngoài, vật sắc nhọn và khí hậu bất lợi.
Ở nơi quy định cho thiết bị hấp thụ năng lượng, hoặc khi thiết bị hấp thụ năng lượng được sử dụng cho công việc thực hiện gần xưởng hàn hoặc xưởng cắt bằng khí ôxy, hoặc nguồn nhiệt, chúng phải được bảo vệ bằng những biện pháp chống nhiệt phù hợp.
Yêu cầu đối với bộ phận nối
Ở chỗ các bộ phận nối có thể tháo rời mà không cần sử dụng dụng cụ, chúng phải đáp ứng được các yêu cầu của TCVN 7802-5 : 2008 (ISO 10333-5 : 2001). ở chỗ các bộ phận nối cần sử dụng dụng cụ để tháo rời, chúng phải đáp ứng được các yêu cầu của 4.3 (độ bền tĩnh) và 4.4 (độ bền ăn mòn) trong TCVN 7802-5 : 2008 (ISO 10333-5 : 2001)
Độ bền ăn mòn
Khi thử theo 5.2.1, tất cả các vật liệu bằng kim loại khi nhìn bằng mắt thường phải không bị ăn mòn. Một bộ hãm rơi ngã kiểu trượt phải không cho thấy các dấu hiệu ăn mòn mà có ảnh hưởng đến chức năng khóa tự động. Ở chỗ cần để dẫn vào các chi tiết bên trong, dụng cụ phải được tháo rời theo hướng dẫn của nhà sản xuất. Phép thử có thể chấp nhận được nếu sau khi thử, lớp cặn có màu trắng hoặc bề mặt mờ.
Phép thử lặp lại phải được thực hiện với mỗi loại/kích cỡ của đường ray hoặc dây cứu sinh được quy định để sử dụng với bộ hãm rơi ngã kiểu trượt.
Tính năng khóa sau khi điều hòa
Một đoạn của đường ray thẳng đứng hoặc dây cứu sinh thẳng đứng có bộ hãm rơi ngã kiểu trượt phải được điều hòa nóng theo 5.2.2.2, sau đó bộ hãm phải khóa mà không bị trượt tiếp, và phải có khả năng mở được khóa khi thử theo 5.2.2.7.
Một đoạn của đường ray thẳng đứng hoặc dây cứu sinh thẳng đứng có bộ hãm rơi ngã kiểu trượt phải được điều hòa lạnh theo 5.2.2.3, sau đó bộ hãm phải khóa mà không bị trượt tiếp, và phải có khả năng mở được khóa khi thử theo 5.2.2.7.
Một đoạn của đường ray thẳng đứng hoặc dây cứu sinh thẳng đứng có bộ hãm rơi ngã kiểu trượt phải được điều hòa ẩm theo 5.2.2.4, sau đó bộ hãm phải khóa mà không bị trượt tiếp, và phải có khả năng mở được khóa khi thử theo 5.2.2.7.
Một đoạn của đường ray thẳng đứng hoặc dây cứu sinh thẳng đứng có bộ hãm rơi ngã kiểu trượt phải được điều hoà bụi theo 5.2.2.5, sau đó bộ hãm phải khoá mà không bị trượt tiếp, và phải có khả năng mở được khoá khi thử theo 5.2.2.7.
Một đoạn của đường ray thẳng đứng hoặc dây cứu sinh thẳng đứng (không có bộ hãm rơi ngã kiểu trượt) phải được điều hoà dầu theo 5.2.2.6, sau đó nó phải khóa mà không bị trượt tiếp, và phải có khả năng mở được khóa khi thử theo 5.2.2.7.
Phép thử lặp lại từ 4.10.1 đến 4.10.5 phải được thực hiện với mỗi loại/kích cỡ của đường ray hoặc dây cứu sinh được quy định sử dụng với bộ hãm rơi ngã kiểu trượt.
Độ tin cậy của khóa
Khi thử theo 5.2.3, đường ray thẳng đứng hoặc dây cứu sinh thẳng đứng có bộ hãm rơi ngã kiểu trượt phải khoá mà không bị trượt tiếp trong mỗi 1000 lần vận hành.
Thử lặp lại theo 4.11.1 đối với mỗi loại/kích cỡ của đường ray hoặc dây cứu sinh được quy định sử dụng với bộ hãm rơi ngã kiểu trượt.
Yêu cầu khi thử động
Một đường ray thẳng đứng hoặc dây cứu sinh thẳng đứng có bộ hãm rơi ngã kiểu trượt và dây nối của nó phải được kết hợp với một HTCRN hoàn chỉnh trong phép thử tính năng sử dụng động.
Khi thử theo Phụ lục A:
a) một hệ thống bao gồm bất kỳ một đường ray thẳng đứng hoặc dây cứu sinh thẳng đứng nào phải có xung lực tối đa là 6 kN;
b) một hệ thống bao gồm một đường ray thẳng đứng hoặc dây cứu sinh thẳng đứng cố định phải có khoảng cách rơi được ghi lại, HD không vượt quá 1,5 m;
c) một hệ thống bao gồm một dây cứu sinh thẳng đứng tạm thời phải có khoảng cách rơi được ghi lại, HD không vượt quá 2,0 m;
Trong mỗi trường hợp, khi mẫu thử ở vị trí sau khi ngừng rơi phải không có:
d) sự xé rách, sự gãy hoặc đứt bất kỳ bộ phận nào (ngoại trừ ở những chỗ xé rách được thiết kế để góp phần tiêu tán năng lượng);
e) mở một phần hoặc mở ngoài ý muốn của bất kỳ cổng nối nào;
Độ bền kéo của đường ray thẳng đứng
Khi thử theo 5.2.4, đường ray thẳng đứng, bộ hãm rơi ngã kiểu trượt và dây nối phải chịu được một lực là 15 kN, và không bị xé hoặc đứt bất kỳ phần nào khi không có cơ cấu tiêu tán năng lượng.
Thử lặp lại theo 4.13.1 đối với mỗi loại/kích cỡ của đường ray thẳng đứng được quy định sử dụng với bộ hãm rơi ngã kiểu trượt.
Độ bền kéo của dây cứu sinh thẳng đứng
Khi thử theo 5.2.4, dây cứu sinh thẳng đứng, bộ hãm rơi ngã kiểu trượt và dây nối phải chịu được một lực như nêu trong Bảng 1, và không bị xé hoặc đứt bất kỳ phần nào khi các dụng cụ tiêu tán năng lượng.
Thử lặp lại theo 4.14.1 đối với mỗi loại/kích cỡ của dây cứu sinh thẳng đứng được quy định sử dụng với bộ hãm rơi ngã kiểu trượt.
Bảng 1 - Lực thử đối với dây cứu sinh thẳng đứng (DCSTĐ)
Loại | Lực tác dụng kN |
DCSTĐ bằng dây cáp thép | 15 |
DCSTĐ bằng dây cáp sợi | 22 |
DCSTĐ bằng vải làm đai | 22 |
CHÚ THÍCH Yêu cầu về độ bền cao hơn đối với vật liệu dệt là cần thiết khi những vật liệu dệt này thường dùng để mặc và dễ bị hư hại hơn những bộ phận bằng kim loại. | |
Thiết bị, dụng cụ và phương pháp thử
Thiết bị, dụng cụ
Thiết bị thử kéo
Một khung thử, tời hoặc cơ cấu thủy lực và đồng hồ đo tải trọng, cùng với thanh ngang phù hợp để tạo được tải lên các bộ phận khi thử.
Quả nặng để thử
Một bộ các quả nặng bằng thép có khối lượng từ 5 kg đến 10 kg với các quả nặng bổ sung 1 kg, để phù hợp với phép thử riêng biệt, các quả nặng này được gắn với một đinh khuy để tạo ra một điểm nối chắc chắn.
Thiết bị thử độ bền ăn mòn
Thiết bị phải có khả năng thực hiện qui trình thử phun bụi muối trung tính theo ISO 9227.
Thiết bị cho các phép thử điều hòa
Điều hòa nóng
Một buồng có khả năng điều chỉnh nhiệt độ ở (40 ± 2) 0C ở độ ẩm tương đối là (85 ± 5) %.
Điều hòa lạnh
Một buồng đã được làm lạnh có khả năng điều chỉnh nhiệt độ ở (-30 ± 2) 0C.
Điều hòa ẩm
Thiết bị phun bụi nước phải có khả năng cung cấp bụi nước với tốc độ xấp xỉ 70 l/h trong khoảng nhiệt độ ở từ 10 0C đến 30 0C.
Điều hòa bụi
Thiết bị phải bao gồm một buồng có dung tích bên trong là 1 m3 có chứa bụi và có thể khuấy bụi bằng cách thổi luồng không khí có áp lực từ 6 bar. Buồng phải có một lỗ thông hơi và một bộ lọc không khí. Một dây mềm xuyên thẳng đứng qua đỉnh buồng thử để vận hành cơ cấu này trong khi thử.
Thiết bị để thử độ tin cậy của khóa
Thiết bị phải có khả năng khoá và mở bộ hãm rơi ngã kiểu trượt lặp đi lặp lại ở mỗi 1 000 lần vận hành, dưới gia tốc trọng lực của một quả nặng rơi.
Phương pháp thử
CHÚ THÍCH Có thể sử dụng một mẫu thử mới cho mỗi lần thử.
Thử độ bền ăn mòn
Thiết bị phải tuân theo 5.1.3.
Ở những chỗ làm bằng kim loại, một mẫu thử của đường ray thẳng đứng hoặc dây cứu sinh thẳng đứng, bộ hãm rơi ngã kiểu trượt và các ngoàm kẹp gắn chặt phải được thử bụi muối trung tính theo ISO 9227 với thời gian tiếp xúc ban đầu là 24 h, sau đó làm khô 1 h, sau đó tiếp xúc lần thứ hai trong 24 h.
Sau khi thử, nếu cần thiết tháo rời theo hướng dẫn của nhà sản xuất, các bộ phận phải được kiểm tra dấu hiệu ăn mòn theo 4.9.
Thử khóa sau khi điều hòa
Xác định khối lượng của quả nặng thử khóa
Gắn tạm thời một phân đoạn đường ray thẳng đứng hoặc dây cứu sinh thẳng đứng dài 1,0 m vào một cấu trúc phù hợp và gắn bộ hãm rơi ngã kiểu trượt vào. Gắn một quả nặng 5 kg vào đầu tự do của dây nối. Cầm đinh khuy của quả nặng nâng quả nặng lên sao cho bộ hãm được kéo lên vị trí phía trên của phân đoạn này. Khi quả nặng ở vị trí cao nhất cân đối với bộ hãm, thả quả nặng rơi và quan sát xem nó có được giữ lại hay không.
Trong khoảng cách cho phép, quả nặng 5 kg có thể không phù hợp để kích hoạt cơ cấu khoá của bộ hãm rơi ngã kiểu trượt, hoặc quả nặng có thể bật lên vài lần trước khi được giữ lại. Trong trường hợp này, tăng khối lượng quả nặng thêm 1 kg, đến khi bộ hãm giữ thành công quả nặng. Trong mọi trường hợp, quả nặng không được vượt quá 30 kg.
Khối lượng của quả nặng thử khoá đã xác định phải được sử dụng để đánh giá khả năng khoá trong các phép thử điều hoà.
Điều hòa nóng
Thiết bị điều hoà nóng phải tuân theo 5.1.4.1 và quả nặng tuân theo 5.2.2.1.
Đặt một đoạn đường ray thẳng đứng hoặc dây cứu sinh thẳng đứng dài 1,0 m có gắn một bộ hãm rơi ngã kiểu trượt vào buồng thử trong 2 h ở nhiệt độ (40 ± 2) 0C và độ ẩm tương đối (85 ± 5) %. Lấy mẫu thử ra và thử ngay với quả nặng thử khoá tối thiểu theo 5.2.2.7 trong vòng 90 s.
Điều hòa ẩm
Thiết bị điều hoà lạnh phải tuân theo 5.1.4.2 và quả nặng tuân theo 5.2.2.1.
Đặt một đoạn đường ray thẳng đứng hoặc dây cứu sinh thẳng đứng dài 1,0 m có gắn một bộ hãm rơi ngã kiểu trượt vào buồng thử trong 2 h ở nhiệt độ (-30 ± 2) 0C. Lấy mẫu thử ra và thử ngay với quả nặng thử khoá tối thiểu theo 5.2.2.7 trong vòng 90 s.
Điều hòa ẩm
Thiết bị điều hoà ẩm phải tuân theo 5.1.4.3 và quả nặng tuân 5.2.2.1.
Đặt một đoạn đường ray thẳng đứng hoặc dây cứu sinh thẳng đứng dài 1,0 m có gắn một bộ hãm rơi ngã kiểu trượt vào trong thiết bị thử, và phun bụi nước ở khoảng nhiệt độ từ 10 0C đến 30 0C, trong 3 h với tốc độ xấp xỉ 70 l/h. Lấy mẫu thử ra và thử ngay với quả nặng thử khoá tối thiểu theo 5.2.2.7 trong vòng 90 s.
Điều hòa bụi
Thiết bị điều hoà bụi phải tuân theo 5.1.4.4 và quả nặng tuân theo 5.2.2.1.
Gắn thẳng đứng một đoạn đường ray thẳng đứng hoặc dây cứu sinh thẳng đứng dài 1,0 m có gắn một bộ hãm rơi ngã kiểu trượt vào buồng thử. Gắn một dây vào bộ hãm và luồn dây qua đỉnh buồng, sao cho bộ hãm có thể nâng lên hoặc hạ thấp xuống trên đường ray thẳng đứng hoặc dây cứu sinh thẳng đứng cùng với nắp của buồng thử.
Đặt vào đáy buồng (4,5 ± 0,5) kg xi măng khô và, cứ sau khoảng thời gian 5 min, khuấy xi măng khô bằng một quạt thổi không khí trong 2 s theo hướng xuống dưới. Sau 1 h, bắt đầu lần thổi không khí tương tự, thực hiện theo trình tự di chuyển như sau.
Nhấc bộ hãm lên cao đến nắp buồng và hạ xuống đáy của buồng thử. Lặp lại thao tác này 10 lần. Lặp lại trình tự chuyển động này cho đến khi hoàn thành năm trình tự di chuyển như vậy ở các khoảng cách quãng trong thời gian 1 h.
Sau trình tự di chuyển cuối cùng, dừng thổi không khí. Để bụi lắng xuống trong thời gian tối thiểu là 15 min, và tháo mẫu thử ra khỏi buồng. Thử ngay cùng với khối lượng thử khoá tối thiểu theo 5.2.2.7 trong vòng 90 s.
Điều hòa dầu
Quả nặng phải tuân theo 5.2.2.1
Nhúng một đoạn đường ray thẳng đứng hoặc dây cứu sinh thẳng đứng dài 1,0 m (không có bộ hãm rơi ngã kiểu trượt) vào trong dầu diezel loại thương phẩm ở nhiệt độ (20 ± 2) 0C trong khoảng thời gian không ít hơn 30 min. Treo đường ray thẳng đứng hoặc dây cứu sinh thẳng đứng tự do và để khô trong 24 h. Trong vòng từ 1 h đến 24 h làm khô, thử cùng với khối lượng thử khoá tối thiểu theo 5.2.2.7.
Phép thử khóa
Gắn tạm thời một đoạn đường ray thẳng đứng hoặc dây cứu sinh thẳng đứng vào một kết cấu phù hợp và gắn bộ hãm rơi ngã kiểu trượt vào. Nối quả nặng thử khoá tối thiểu đã xác định ở 5.2.2.1 vào đầu tự do của dây nối. Cầm đinh khuy của quả nặng nâng quả nặng lên sao cho bộ hãm được kéo lên vị trí phía trên của đoạn này. Khi quả nặng ở vị trí cao nhất cân đối với bộ hãm, thả quả nặng rơi và quan sát bộ hãm khoá lại và giữ quả nặng và xem bộ hãm có thể mở được khoá sau khi thử hay không.
Phép thử độ tin cậy của khóa
Thiết bị thử phải tuân theo 5.1.5 quả nặng tuân theo 5.2.2.1.
Buộc thẳng đứng một đoạn đường ray thẳng đứng hoặc dây cứu sinh thẳng đứng có gắn một bộ hãm rơi ngã kiểu trượt vào thiết bị. Nối quả nặng thử khoá tối thiểu đã xác định ở 5.2.2.1 vào đầu tự do của dây nối. Nhấc quả nặng để bộ hãm chuyển động lên trên một khoảng cách tối thiểu là 300 mm, và ở cuối của mỗi chuyển động cho quả nặng rơi để kiểm tra xem bộ hãm có khoá lại hay không.
Lặp lại 1 000 lần thử như trên để bảo đảm rằng bộ hãm khoá lại trong mỗi lần thử.
Thử độ bền kéo
Thiết bị thử phải tuân theo 5.1.1.
Cố định một đoạn đường ray thẳng đứng hoặc dây cứu sinh thẳng đứng trên mặt phẳng đứng vào một kết cấu phù hợp như được chỉ ra trên Hình 4, và theo hướng dẫn lắp đặt của nhà sản xuất. Gắn một bộ hãm rơi ngã kiểu trượt tương ứng và khoá vào đường ray thẳng đứng hoặc dây cứu sinh thẳng đứng. Nếu mẫu thử là đường ray thẳng đứng, có một chỗ nối là một phần của mẫu thì khoá bộ hãm vào phía trên của chỗ nối.
Gắn thiết bị thử kéo vào đầu tự do của dây nối sao cho khi bị tác dụng, lực thử:
a) chống lại bởi hoạt động khoá của bộ hãm;
b) tác dụng đồng thời lên đường ray thẳng đứng hoặc dây cứu sinh thẳng đứng, bộ hãm và dây nối;
c) tác dụng song song lên đường ray thẳng đứng hoặc dây cứu sinh thẳng đứng.
Tác dụng một lực kéo ban đầu phù hợp lên toàn bộ vật liệu hoặc cơ cấu tiêu tán năng lượng đồng bộ với dây nối hoặc bộ hãm, sau đó tác dụng một lực thử 15 kN đối với đường ray thẳng đứng, hoặc theo Bảng 1 đối với dây cứu sinh thẳng đứng. Tốc độ kéo không vượt quá (150 ± 10) mm/min.
Duy trì lực thử trong khoảng thời gian 5 min. Quan sát liệu xem có bất kỳ chi tiết nào bị gãy hoặc đứt trong lúc chịu tải hay không.
Khi lực thử đã duy trì trong khoảng thời gian 5 min, cho phép tiến hành thử phá hủy để đánh giá tải trọng gây hỏng và kiểu hỏng.
.png)
Chú giải
1. Vật cố định để thử
2. Đường ray thẳng đứng hoặc dây cứu sinh
3. Bộ hãm rơi ngã kiểu trượt được khoá trên đường ray hoặc dây cứu sinh
4. Dây nối
5. Lực thử
Hình 4 - Bố trí thử độ bền kéo
Hướng dẫn chung về cách sử dụng, ghi nhãn và bao gói
Hướng dẫn chung về cách sử dụng
Mỗi một đường ray thẳng đứng hoặc dây cứu sinh thẳng đứng cùng với bộ hãm rơi ngã kiểu trượt phù hợp phải có kèm theo các hướng dẫn rõ ràng bằng ngôn ngữ của quốc gia, về việc lắp đặt, điều chỉnh và sử dụng. Các hướng dẫn này phải bao gồm thông tin sau:
a) tên của nhà sản xuất;
b) tên và địa chỉ của nhà cung cấp hoặc thông tin khác để có thể liên hệ với nhà cung cấp, nếu thích hợp;
c) tài liệu liên quan đến việc áp dụng, mục đích và những hạn chế của sản phẩm, và chỉ ra rằng sản phẩm chỉ được sử dụng bởi một người đã được đào tạo về cách sử dụng an toàn;
d) cảnh báo không cho phép bất kỳ việc thay thế hoặc thêm vào sản phẩm;
e) cảnh báo có thể gia tăng nguy hiểm khi sử dụng kết hợp các bộ phận và/hoặc hệ thống phụ, trong đó chức năng an toàn của một bộ phận và/hoặc hệ thống phụ bị ảnh hưởng hoặc bị tác động bởi chức năng an toàn của các bộ phận và/hoặc hệ thống phụ khác;
f) cảnh báo rằng các bộ hãm chỉ được sử dụng cùng với đường ray thẳng đứng hoặc dây cứu sinh thẳng đứng mà chúng đã được thử cùng nhau;
g) hướng dẫn cách kiểm tra thiết bị bằng mắt thường ngay trước khi sử dụng và bảo đảm thiết bị ở điều kiện dùng tốt và hoạt động chính xác;
h) danh mục các hướng dẫn và các chỉ tiêu đạt/không đạt để người sử dụng có thể đảm bảo rằng thiết bị ở điều kiện dùng tốt và hoạt động chính xác trước khi sử dụng;
i) khuyên về những hạn chế của vật liệu làm sản phẩm có thể gây ảnh hưởng đến tính năng của sản phẩm, chẳng hạn như nhiệt độ, ảnh hưởng của những cạnh sắc, các chất phản ứng hoá học, cắt, mài mòn, sự suy giảm do tia tử ngoại (UV), và trong trường hợp còn nghi ngờ người sử dụng phải tham khảo ý kiến của nhà sản xuất;
j) cảnh báo một bộ hãm rơi ngã không phù hợp để sử dụng trong những trường hợp khi người sử dụng được bố trí trên các bề mặt không ổn định, vật liệu có hạt mịn hoặc các chất rắn dạng hạt như cát hoặc than;
k) hướng dẫn bảo quản;
l) hướng dẫn làm sạch và/hoặc giặt;
m) hướng dẫn bảo dưỡng;
n) lời khuyên nên kiểm tra thiết bị định kỳ theo hướng dẫn của nhà sản xuất bởi một người có năng lực, ở các khoảng thời gian cách quãng để giữ được điều kiện sử dụng, nhưng ít nhất một năm một lần;
o) cảnh báo rằng việc sửa chữa thiết bị chỉ được thực hiện bởi nhà sản xuất hoặc người có năng lực theo sự ủy quyền của nhà sản xuất;
p) hướng dẫn có liên quan đến việc kiểm tra thiết bị và những yếu tố là nguyên nhân khiến thiết bị bị loại bỏ;
q) hướng dẫn không được sử dụng bất kỳ thiết bị nào đã được sử dụng để chống rơi ngã và thiết bị này phải được kiểm tra và phê duyệt bởi người có năng lực tước khi sử dụng lại;
r) lời khuyên trước và trong khi sử dụng, phải cân nhắc làm thế nào để việc giải cứu được thực hiện an toàn và có hiệu quả;
s) hướng dẫn khi sử dụng bộ hãm rơi ngã, người sử dụng phải được biết rằng bộ hãm là một phần của một hệ thống có xung lực không vượt quá 6 kN;
t) cảnh báo rằng đường ray thẳng đứng hoặc dây cứu sinh thẳng đứng có bộ hãm rơi ngã kiểu trượt tuân theo tiêu chuẩn này được giới hạn dùng cho một người có khối lượng tổng không vượt quá 100 kg;
u) hướng dẫn làm thế nào để lắp đặt dây cứu sinh thẳng đứng tạm thời và làm thế nào để nối dây với các điểm neo, tham khảo ISO 14567 nếu cần thiết;
v) hướng dẫn làm thế nào để nối chính xác dây nối của bộ hãm với một dây đỡ cả người;
w) cảnh báo phải quan sát những khoảng trống để bảo đảm khoảng cách đủ để khi rơi ngã, người sử dụng không bị va xuống nền đất hoặc vật cản gần nhất trên đường rơi (cảnh báo này có thể bao gồm những thông tin đề cập đến cấu tạo của dây cứu sinh thẳng đứng và các đặc tính dãn dài của nó);
x) cảnh báo rằng dây nối sử dụng cùng với bộ hãm không được vượt quá chiều dài của dây nối được quy định bởi nhà sản xuất (chiều dài tối đa của dây nối phải có trong hướng dẫn)
y) cảnh báo và hướng dẫn phù hợp có đề cập đến hướng và trình tự đúng để gắn bộ hãm vào đường ray thẳng đứng hoặc dây cứu sinh thẳng đứng, hoặc ở hai đầu mút hoặc ở các điểm mở hoặc khi sử dụng các dụng cụ mở;
Ghi nhãn
Bộ hãm rơi ngã kiểu trượt phải được ghi nhãn rõ ràng và không thể tẩy xoá hoặc ghi nhãn vĩnh cửu với thông tin sau:
a) viện dẫn tiêu chuẩn này;
b) tên, thương hiệu hoặc các biện pháp khác để nhận biết nhà sản xuất hoặc nhà cung cấp;
c) thông tin để nhận biết sản phẩm của nhà sản xuất, bao gồm số hiệu lô hoặc số sêri sản xuất để có thể truy nguyên nguồn gốc của sản phẩm;
d) năm sản xuất;
e) cảnh báo phải đọc hướng dẫn sử dụng của nhà sản xuất;
f) tài liệu nói rõ rằng bộ hãm rơi ngã kiểu trượt được dự kiến chỉ để sử dụng với đường ray thẳng đứng hoặc dây cứu sinh thẳng đứng riêng biệt được định rõ bởi nhà sản xuất;
g) đánh dấu để chỉ hướng sử dụng đúng;
h) chiều dài tối đa của dây nối như quy định của nhà sản xuất.
Đường ray thẳng đứng hoặc dây cứu sinh thẳng đứng phải được ghi nhãn rõ ràng và không thể tẩy xoá hoặc ghi nhãn vĩnh cửu cùng với thông tin sau:
a) chỉ rõ vật liệu chế tạo;
b) chiều dài của đường ray hoặc dây cứu sinh;
c) cảnh báo phải đọc hướng dẫn của nhà sản xuất;
d) cảnh báo dây neo phải được kiểm tra định kỳ trong thời gian cất giữ với các điều kiện sử dụng nhưng ít nhất một năm một lần bởi người có năng lực theo hướng dẫn của nhà sản xuất.
Bao gói
Các chi tiết làm bằng vật liệu dệt của thiết bị an toàn phải được bao gói trong vật liệu chống ẩm, nhưng không cần thiết phải gắn kín.
Các nhà sản xuất và nhà cung cấp phải có cách bảo vệ phù hợp để bảo đảm sản phẩm của họ được bao gói đầy đủ để ngăn được hư hại và giảm chất lượng trong khi vận chuyển.
Ở nơi tồn tại điều kiện môi trường xấu, hoặc điều kiện cung cấp đặc biệt được mô tả chi tiết để cất giữ trong thời gian dài hoặc để đáp ứng các yêu cầu vận chuyển đặc biệt, việc bao gói phải được người mua quy định và được nhà cung cấp chấp thuận.
Phụ lục A
(quy định)
Thử tính năng động học
A.1. Quy định chung
Phụ lục này quy định các phép thử tính năng động học đối với đường ray thẳng đứng và dây cứu sinh thẳng đứng có kết hợp với bộ hãm rơi ngã kiểu trượt. Các ví dụ của hệ thống chống rơi ngã cá nhân kết hợp với đường ray thẳng đứng và dây cứu sinh thẳng đứng như được chỉ ra trong Hình A.1 trong đó chỉ rõ cách để nối các bộ phận và các hệ thống với nhau.
A.2. Thiết bị, dụng cụ
A.2.1. Mẫu thử mô phỏng theo nửa thân người (mẫu thử), có các kích thước được quy định trong Hình A.2. Đinh khuy treo phải có đường kính trong là 40 mm và đường kính mặt cắt ngang tối đa là 16 mm. Bề mặt phải nhẵn và, nếu làm bằng gỗ, phải được đánh senlắc hoặc đánh vécni.
A.2.2. Giá thử, kết cấu cứng, với tần số rung tự nhiên theo trục thẳng đứng ở chỗ dụng cụ neo hệ thống chống rơi ngã cá nhân được cố định không nhỏ hơn 100 Hz, và sao cho khi tác dụng một lực 20 kN ở điểm đó không gây ra chuyển vị lớn hơn 1 mm.
Giá thử có thể là một điểm neo cứng gồm một vòng tròn có đường kính lỗ là (20 ± 1) mm và đường kính mặt cắt ngang là (15 ± 1) mm, hoặc một thanh có đường kính mặt cắt ngang tương tự. ở chỗ cần để điều chỉnh cho phù hợp với các dụng cụ neo và các hệ thống phụ cụ thể, có thể sử dụng các phương pháp khác để cố định với giá thử.
Giá thử phải có độ cao sao cho mẫu thử không bị chạm xuống sàn trong khi thử động. Phải có khoảng trống phía dưới vị trí trước khi thả của mẫu thử đủ để cho phép các yếu tố như rơi tự do, chiều dài hệ thống chống rơi ngã cá nhân, sự mở rộng của hệ thống chống rơi ngã cá nhân, tính co giãn của dây đỡ cả người và chiều cao của mẫu thử.
A.2.3. Dụng cụ thả nhanh, thích hợp với đinh khuy của mẫu thử hoặc các bộ phận nối, đảm bảo thả mẫu thử rơi tức thì.
A.2.4. Thiết bị đo lực, có khả năng đo được các lực từ 1,2 kN đến 20 kN với độ chính xác là ± 2 % và chịu được một lực là 50 kN mà không bị hư hại, và được sắp xếp sao cho phép đo được thực hiện với dải tần số hoạt động liên tục lên đến 100 Hz nhưng với tốc độ lấy mẫu tối thiểu là 1 000 Hz.
Hệ thống đo xung lực phải có tần số góc là 100 Hz và đường đặc trưng tần số giảm trong khoảng gạch chéo được minh họa ở Hình A.3.
Phải sử dụng một dụng cụ ghi để ghi lại đường biến thiên của lực theo thời gian, hoặc thời gian thực tế (khi ghi lại bằng dụng cụ đo phụ trợ) hoặc thời gian sau đó, sau khi lưu giữ thông tin.
V.png)
Kích thước tính bằng milimét
.png)
a Trọng tâm
Hình A.2 - Mẫu thử
.png)
Những giá trị đặc trưng đường tần số:
a = ± 1/4 dB b = + 1/2 dB, - 1 dB c = + 1/2 dB, - 3 dB d = - 30 dB | fL = 0,1 Hz fH = 60 Hz fN = 100 Hz |
CHÚ GIẢI
1. Đường dốc = - 9 dB trên mét octa
2. Đường dốc = - 24 dB trên mét octa
Hình A.3 - Đường đặc tính tần số của thiết bị đo lực
A.3. Thử tính năng đối với một hệ thống chống rơi ngã cá nhân bao gồm một dây cứu sinh thẳng đứng tạm thời
A.3.1. Chuẩn bị
A.3.1.1. Các bộ phận/các hệ thống phụ cụ thể để thử phải bao gồm:
a) một dụng cụ neo;
b) một dây cứu sinh thẳng đứng tạm thời và một bộ hãm rơi ngã kiểu trượt;
c) một dây đỡ cả người;
d) một số các bộ phận nối được yêu cầu.
A.3.1.2. Cố định dụng cụ neo vào giá thử, và lắp các bộ phận/các hệ thống phụ vào hệ thống chống rơi ngã cá nhân đã dự kiến theo hướng dẫn của nhà sản xuất.
A.3.2. Cách tiến hành
A.3.2.1. Đeo dây đỡ cả người vào mẫu thử như đeo vào người thật, theo hướng dẫn của nhà sản xuất. Điều chỉnh để đảm bảo dây đỡ cả người vừa khít với mẫu thử.
A.3.2.2. Nâng mẫu thử ở tư thế thẳng đứng. Gắn bộ hãm rơi ngã kiểu trượt vào dây cứu sinh thẳng đứng tạm thời theo hướng dẫn của nhà sản xuất. Gắn dây nối của bộ hãm rơi ngã kiểu trượt với điểm liên kết chống rơi ngã của dây đỡ cả người bằng cách sử dụng một bộ phận nối, và gắn đầu trên của dây cứu sinh thẳng đứng với lực kế được gắn với dụng cụ neo đã cố định với giá thử.
A.3.2.3. Nâng mẫu thử tới chiều cao tối đa cho phép bởi chiều dài dây nối của bộ hãm rơi ngã kiểu trượt, và cố định với dụng cụ thả nhanh [xem Hình A.4 a)], sao cho bộ hãm rơi ngã kiểu trượt cách điểm nối giữa dây cứu sinh thẳng đứng tạm thời với lực kế một khoảng tối đa là 300 mm. Đo và ghi lại chiều cao HQ (khoảng cách từ sàn đến phía dưới của mẫu thử). Bảo đảm rằng đinh khuy trên mẫu thử cách trục thẳng đứng của điểm liên kết của dụng cụ neo trước khi thả theo phương nằm ngang tối đa là 300 mm.
A.3.2.4. Thả mẫu thử. Đo và ghi lại lực tương ứng với thời gian. Khi mẫu thử dừng hẳn [Hình A.4 b)], đo và ghi lại chiều cao HG (khoảng cách từ sàn đến phía dưới của mẫu thử). Tính toán và ghi lại khoảng cách rơi HD:
HD = HQ - HG
A.3.2.5. Với mẫu thử được giữ ở vị trí treo lơ lửng sau khi rơi, quan sát và ghi lại liệu có bất kỳ sự xé hoặc đứt dây cứu sinh thẳng đứng tạm thời hoặc bộ hãm rơi ngã kiểu trượt, trừ trường hợp chỗ xé này được thiết kế có chủ ý để góp phần tiêu tán năng lượng. Lặp lại việc kiểm tra với hệ thống chống rơi ngã cá nhân đã được tháo rời.
A.3.2.6. Lặp lại phép thử tính năng được mô tả từ A.3.2.1 đến A.3.2.5 đối với mỗi loại hoặc cỡ dây cứu sinh được quy định để sử dụng với bộ hãm rơi ngã kiểu trượt. Trong mỗi trường hợp phải lấy một bộ các bộ phận/hệ thống phụ mới.
A.4. Thử tính năng đối với một hệ thống chống rơi ngã cá nhân bao gồm một dây cứu sinh thẳng đứng cố định
A.4.1. Chuẩn bị
A.4.1.1. Các bộ phận/hệ thống phụ cụ thể để thử phải bao gồm:
a) một số các dụng cụ neo được yêu cầu;
b) một dây cứu sinh thẳng đứng cố định và một bộ hãm rơi ngã kiểu trượt;
c) một dây đỡ cả người;
d) một số các bộ phận nối được yêu cầu.
A.4.1.2. Cố định dây cứu sinh thẳng đứng cố định và các ngàm kẹp trung gian vào giá thử, và lắp các bộ phận/hệ thống phụ vào hệ thống chống rơi ngã cá nhân đã dự kiến theo hướng dẫn của nhà sản xuất
Kích thước tính bằng milimét
.png)
CHÚ GIẢI
1. Giá thử
2. Dụng cụ thả nhanh
3. Mẫu thử
4. Bộ hãm rơi ngã kiểu trượt
5 Dây cứu sinh thẳng đứng tạm thời
6. Quả nặng kéo căng
7. Sàn
Hình A.4 - Bố trí thử tính năng đối với hệ thống chống rơi ngã cá nhân bao gồm một dây cứu sinh thẳng đứng tạm thời
A.4.2. Cách tiến hành
A.4.2.1. Đeo dây đỡ cả người vào mẫu thử như khi đeo vào người thật, theo hướng dẫn của nhà sản xuất. Điều chỉnh để đảm bảo dây đỡ cả người vừa khít với mẫu thử.
A.4.2.2. Nâng mẫu thử ở tư thế thẳng đứng. Gắn bộ hãm rơi ngã kiểu trượt vào dây cứu sinh thẳng đứng cố định theo hướng dẫn của nhà sản xuất. Nối một đầu của lực kế với dây nối của bộ hãm rơi ngã kiểu trượt và đầu kia với dây đỡ cả người có điểm liên kết chống rơi ngã ở đoạn xương ức, sử dụng các bộ phận nối đã có sẵn.
A.4.2.3. Với bộ hãm rơi ngã kiểu trượt được đặt ở phần giữa đỉnh và điểm chốt dây cứu sinh thẳng đứng cố định trung gian kế tiếp, nâng mẫu thử đến độ cao tối đa cho phép bởi chiều dài của dây nối của bộ hãm rơi ngã kiểu trượt, với lực kế treo theo hướng xuống dưới [xem Hình A.5 a) và A.6)], và cố định với dụng cụ thả nhanh.
CHÚ THÍCH 1 Lực kế có thể được giữ bởi một dây nhỏ ở vị trí này trước khi thả mẫu thử. Dây này được buộc chặt vào đỉnh của lực kế và với bộ phận nối hoặc thiết bị khác giữ mẫu thử với dụng cụ thả nhanh, và được thả cùng một lúc với mẫu thử.
CHÚ THÍCH 2 Lực kế phải được giữ ở vị trí trước khi thả nếu không thì chiều dài tự nhiên của nó có thể ảnh hưởng đáng kể đến việc rơi tự do của mẫu thử trong phép thử tính năng.
A.4.2.4. Đo và ghi lại chiều cao HQ (khoảng cách từ sàn đến phía dưới của mẫu thử). Bảo đảm rằng đinh khuy trên mẫu thử cách dây cứu sinh thẳng đứng cố định trước khi thả theo phương nằm ngang tối đa là 300 mm.
A.4.2.5. Thả mẫu thử. Đo và ghi lại lực tương ứng với thời gian. Khi mẫu thử dừng hẳn [Hình A.5 b)], đo và ghi lại chiều cao HG (khoảng cách từ sàn đến phía dưới của mẫu thử). Tính toán và ghi lại khoảng cách rơi HD:
HD = HQ - HG
A.4.2.6. Với mẫu thử được giữ ở vị trí treo lơ lửng sau khi rơi, quan sát và ghi lại liệu có bất kỳ sự xé hoặc đứt dây cứu sinh thẳng đứng cố định hoặc bộ hãm rơi ngã kiểu trượt (trừ khi ở những chỗ xé này được thiết kế có chủ ý để góp phần tiêu tán năng lượng). Lặp lại việc kiểm tra với hệ thống chống rơi ngã cá nhân đã được tháo rời.
A.4.2.7. Lặp lại phép thử tính năng được mô tả từ A.4.2.1 đến A.4.2.6 đối với mỗi loại hoặc cỡ dây cứu sinh được quy định để sử dụng với bộ hãm rơi ngã kiểu trượt. Trong mỗi trường hợp phải lấy một bộ các bộ phận/hệ thống phụ mới.
A.5. Thử tính năng đối với một hệ thống chống rơi ng) cá nhân bao gồm một đường ray thẳng đứng
A.5.1. Chuẩn bị
A.5.1.1. Các bộ phận/hệ thống phụ cụ thể để thử phải bao gồm:
a) một số các dụng cụ neo được yêu cầu;
b) một dây cứu sinh thẳng đứng cố định và một bộ hãm rơi ngã kiểu trượt;
c) một dây đỡ cả người;
d) một số các bộ phận nối được yêu cầu.
A.5.1.2. Cố định dây cứu sinh thẳng đứng cố định và các ngàm kẹp trung gian vào giá thử, và lắp các bộ phận/hệ thống phụ vào hệ thống chống rơi ngã cá nhân đã dự kiến theo hướng dẫn của nhà sản xuất
A.5.2. Cách tiến hành
A.5.2.1. Đeo dây đỡ cả người vào như khi đeo vào người thật, theo hướng dẫn của nhà sản xuất. Điều chỉnh để đảm bảo dây đỡ cả người vừa khít với mẫu thử.
A.5.2.2. Nâng mẫu thử ở tư thế thẳng đứng. Gắn bộ hãm rơi ngã kiểu trượt vào đường ray thẳng đứng theo hướng dẫn của nhà sản xuất. Nối một đầu của lực kế với dây nối của bộ hãm rơi ngã kiểu trượt và đầu kia với điểm liên kết chống rơi ngã ở đoạn xương ức trên dây đỡ cả người, có sử dụng các bộ phận nối đã có sẵn.
A.5.2.3. Với bộ hãm rơi ngã kiểu trượt được đặt ở phần giữa đỉnh và điểm chốt đường ray thẳng đứng kế tiếp, nâng mẫu thử đến độ cao tối đa cho phép bởi chiều dài của dây nối của bộ hãm rơi ngã kiểu trượt, với lực kế treo theo hướng xuống dưới [xem Hình A.7 a) và A.8)], và cố định với dụng cụ thả nhanh.
CHÚ THÍCH 1 Lực kế có thể được giữ bởi một dây nhỏ ở vị trí này trước khi thả mẫu thử. Dây này được buộc chặt vào đỉnh của lực kế và với bộ phận nối hoặc thiết bị khác giữ mẫu thử với dụng cụ thả nhanh, và được thả cùng một lúc với mẫu thử.
CHÚ THÍCH 2 Lực kế phải được giữ ở vị trí trước khi thả nếu không thì chiều dài tự nhiên của nó có thể ảnh hưởng đáng kể đến việc rơi tự do của mẫu thử trong khi thử tính năng.
A.5.2.4. Đo và ghi lại chiều cao HQ (khoảng cách từ sàn đến phía dưới của mẫu thử). Bảo đảm rằng đinh khuy trên mẫu thử cách đường ray thẳng đứng trước khi thả theo phương nằm ngang tối đa là 300 mm.
A.5.2.5. Thả mẫu thử. Đo và ghi lại lực tương ứng với thời gian. Khi mẫu thử dừng hẳn [Hình A.7 b)], đo và ghi lại chiều cao HG (khoảng cách từ sàn đến phía dưới của mẫu thử). Tính toán và ghi lại khoảng cách rơi HD:
HD = HQ - HG
A.5.2.6. Với mẫu thử được giữ ở vị trí treo lơ lửng sau khi rơi, quan sát và ghi lại liệu có bất kỳ sự xé hoặc đứt đường ray thẳng đứng hoặc bộ hãm rơi ngã kiểu trượt (trừ khi những chỗ xé này được thiết kế có chủ ý để góp phần tiêu tán năng lượng). Lặp lại việc kiểm tra với hệ thống chống rơi ngã cá nhân đã được tháo rời.
A.5.2.7. Lặp lại phép thử tính năng được mô tả từ A.5.2.1 đến A.5.2.6 đối với mỗi loại hoặc cỡ đường ray được quy định để sử dụng với bộ hãm rơi ngã kiểu trượt. Trong mỗi trường hợp phải lấy một bộ các bộ phận/hệ thống phụ mới.
Kích thước tính bằng milimét
.png)
CHÚ GIẢI
1. Giá thử 2. Điểm chốt dây cứu sinh thẳng đứng cố định phía trên 3. Dụng cụ thả nhanh 4. Bộ hãm rơi ngã kiểu trượt | 5. Mẫu thử 6. Dây cứu sinh thẳng đứng cố định 7. Điểm chốt dây cứu sinh thẳng đứng cố định phía dưới 8. Sàn |
Hình A.5 - Bố trí phép thử tính năng đối với hệ thống chống rơi ngã cá nhân bao gồm một dây cứu sinh thẳng đứng cố định
Kích thước tính bằng milimét
.png)
CHÚ GIẢI
1. Dụng cụ thả nhanh 2. Dây nhỏ 3. Đinh khuy trên mẫu thử 4. Cổ của mẫu thử 5. Dây cứu sinh | 6. Lực kế (thẳng đứng) 7. Nối với lực kế 8. Bộ hãm rơi ngã kiểu trượt 9. Dây nối |
Hình A.6 - Chi tiết của việc bố trí lực kế ở vị trí trước khi thử [xem Hình A.5 a)]
Kích thước tính bằng milimét
.png)
CHÚ GIẢI
1. Giá thử 2. Điểm chốt đường ray thẳng đứng phía trên 3. Dụng cụ thả nhanh | 4. Bộ hãm rơi ngã kiểu trượt 5. Mẫu thử 6. Điểm chốt trung gian | 7. Đường ray thẳng đứng 8. Điểm chốt đường ray thẳng đứng phía dưới 9. Sàn |
Hình A.7 - Bố trí phép thử tính năng đối với hệ thống chống rơi ngã cá nhân bao gồm một đường ray thẳng đứng
Kích thước tính bằng milimét
.png)
CHÚ GIẢI
1. Dụng cụ thả nhanh 2. Dây nhỏ 3. Đinh khuy trên mẫu thử 4. Cổ của mẫu thử 5. Đường ray | 6. Lực kế (thẳng đứng) 7. Nối với lực kế 8. Bộ hãm rơi ngã kiểu trượt 9. Dây nối |
Hình A.8 - Chi tiết bố trí lực kế ở vị trí trước khi thả [xem Hình A.7 a)]










